社区 发现 Amazon 急!小弟的产品被批量移除怎么办?理由是亚...
急!小弟的产品被批量移除怎么办?理由是亚马逊发起的不可售商品自动移除,开case回复无法取消,移除订单只能在开始处理之前取消。这种情况下该怎么操作?
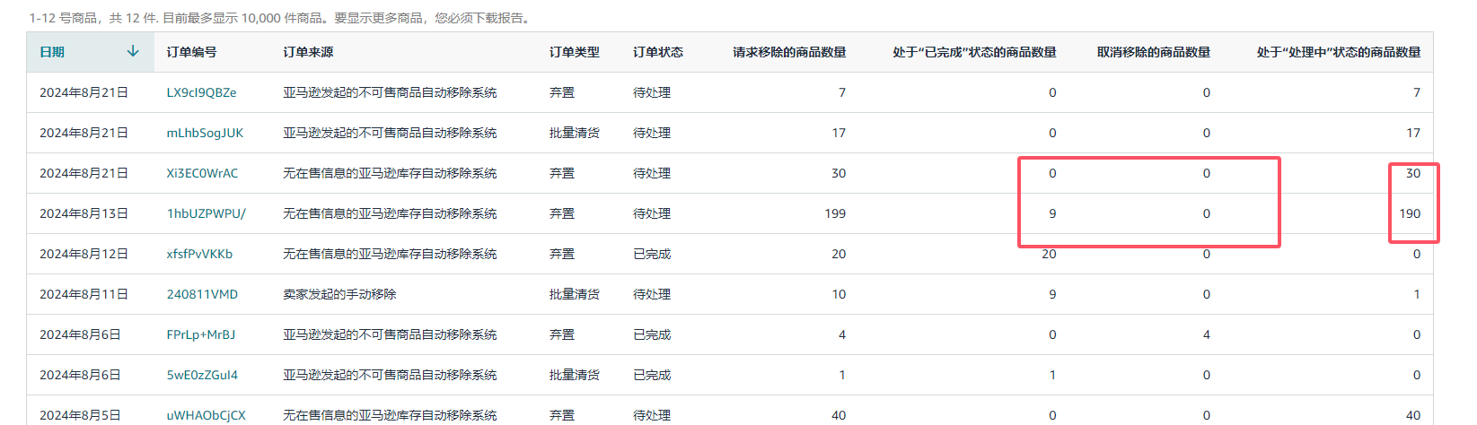
小弟上线了好几个新品,发了很多库存过去。这段时间有其他事情没有及时上传产品信息,目前发现到货没有一个月,就被移除掉了。移除的理由是亚马逊发起的不可售商品自动移除,目前的状态是
请求移除的商品数量 是我发过去的全部新品,但是完成移除的是0件,都处在处于“处理中”状态的商品数量。开case问了,对方答复:
无法取消移除订单mLhbSogJUK。 移除订单只能在开始处理之前取消。 一旦移除订单进入处理状态,我们将无法取消。 此外,我们无法取消由亚马逊发起的按要求移除请求。
这种情况下该怎么操作?非常着急,请各位指导一下。

 
					
					



 
			
 
		 
		 
		 
		 
		









 
				 
				
				
			





 
     倒计时:
    倒计时: 
                 
                             
                             
                             
                             
                 
         
         
         
        
16 个回复
应如是 - 天助自助者
赞同来自: 桩桩呀ct 、 Candy不吃糖 、 jackylt
方法1.切换到同区域的其他站点,找到移除订单,点击取消。比如北美区域,美国可以切到加拿大 墨西哥,同区域跨站点取消移除订单。
方法2.提供移除订单编号,截图,情况说明,需求内容,请求帮你拦截取消移除订单,发送到:
库存处理:seller-fba-inventory@amazon.com
US:merchant-reserve-inquiry@amazon.com
US: payments-investigate@amazon.com
方法3.查看库存分账的表格,看看这些asin的库存属性是否为SELLABLE(可售),如果是的话,你可以以这个库存分账的表格和截图,情况说明,SKU\FNSKU\ASIN,数量,这批货的POD、shipment货件接收数量页面截图,开case申诉,解释说明亚马逊没有邮件通知的情况下,直接弃置了你的可售库存,对你的销售计划造成严重损失,请求仓库调查情况,并反馈相应的结果。
移除订单取消的相关帖子也可以参考:
https://www.wearesellers.com/question/69499
https://www.wearesellers.com/question/85970