社区 发现 Amazon # 案例分析 # 目前上架三个多月玩具类...
# 案例分析 # 目前上架三个多月玩具类新品,纯白帽,月销2000+,评分4.8,但是感觉广告越跑越差,想知道怎么优化以及下一步突破
竞品旺季(10月-12月)月销2万+,淡季(1月-9月)月销1w+,客单价维稳在17.99,我的产品有数量组合优势,最低可以做到19.99的促销价,目标是至少做到竞品月销的3分之一,淡季3000+,旺季5000+
广告概况:
从上架到现在基本一直用的动态竞价(up and down),没有去进行过卡位等操作,大部分词首页顶部转化率>搜索页其他位置转化率>商品页转化率,小部分大词搜索页其他位置转化率更好一点,ctr一直在0.4%-1%之间,综合cvr在7%-15%之间
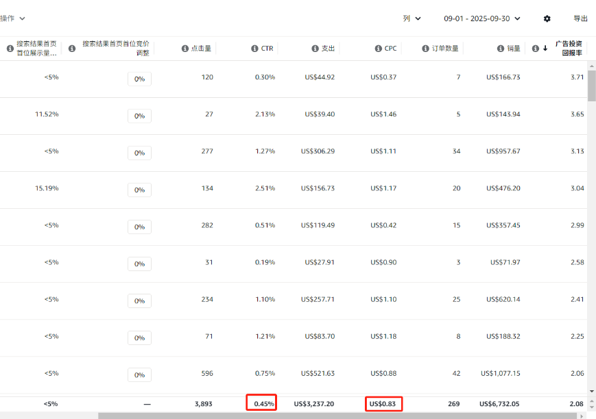
9月广告数据:ctr0.45%,平均cpc0.83,综合cvr 6.98%
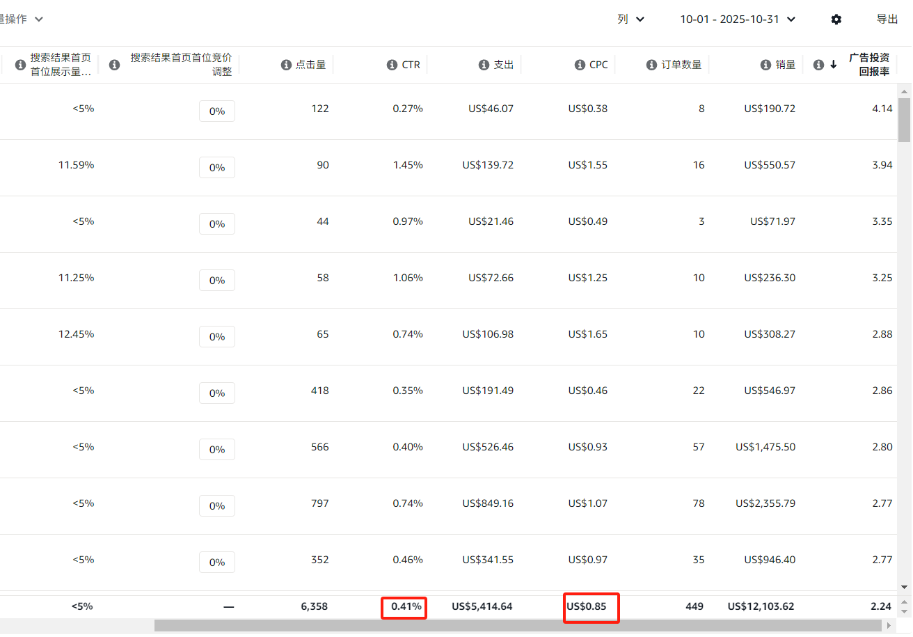
10月广告数据:ctr0.41%。平均cpc0.85,综合cvr7.1%,因为万圣节以及权重上来一些的缘故比9月好一点
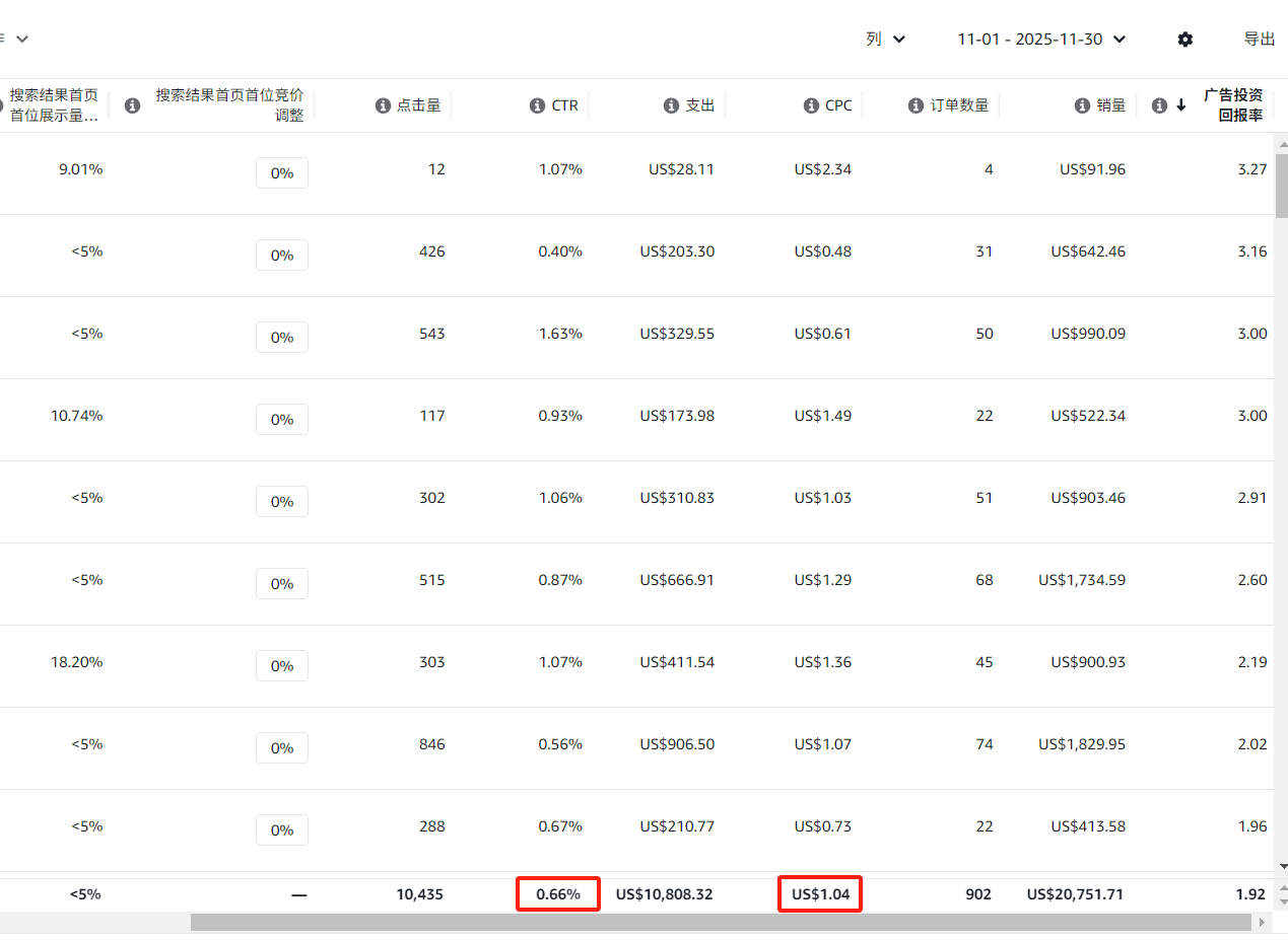
11月广告数据:ctr0.66%。平均cpc1.04,综合cvr8.65%
黑五、网一期间广告数据再单拎出来一下,因为这之间做了促销:ctr0.75%。平均cpc1.07,综合cvr11.86%
销量概况:因为是说最近感觉越来越差,所以就只看本月数据吧(12.1-12.22)
整体来看其实似乎符合从旺季-旺季结束的一个单量递减的规律,但为什么我说感觉越来越差呢,因为至少在12.15号前,我认为订单应该是一直上涨的,或者说至少保持在日销90的水平(我之前定的目标是至少日销100,且逐渐上涨至日销150然后回落),因为我的广告基本上没有预算上限的。
但事实并没有如我的预期,甚至有在12.6-12.7(周末两天)掉到了40-50单的日销,不知道是不是周末的原因影响那么大,但我当时为了及时补救以及想要单量上的突破,做了一个降价2美金的措施(23.99-21.99)。当时效果还是很明显的,12.8卖了113单,但是次日并没有如预想般继续突破,而是回落到了90单+,于是我在12.10又降价2美金,(21.99-19.99),这次效果反而更差,单量不见涨,反而还掉了,在持续了2天的19.99的价格后,我又在12.12回调到23.99,此时单量还是和19.99的价格时差不多(90单左右)。
12.2-12.7(客单价23.99)广告数据
12.8-12.9(客单价21.99)广告数据
12.10-12.11(客单价19.99)广告数据
这让我得出了一个假设“我的产品更适合在20美金以上的定价区间”,于是我又从广告的角度进行调整。
上面有提到我一直用的是动态竞价(up and down),然后动态竞价跑出来的数据表明我大部分出单集中在首页顶部和搜索页其他位置,其中首页顶部转化最好,那么我是否可以通过用固定竞价的方式卡广告位,让预算集中花在首页顶部以及搜索页其他位置来实现单量的增长呢,在12.12-12.14做了对所有广告都采用固定竞价+bid的方式,结果转化率奇差无比。
12.12-12.14广告数据(固定竞价策略) 注:12.13-12.14为周末两天
于是我又紧急换回了动态竞价
12-15-12.17广告数据
但是到这时候旺季的窗口期已经过去的差不多了,单量再也没有回到之前的水平,甚至连9月的水平(日销30)都没有了,我实在是没招了,不知道是不是运气太背,周末真的对单量影响巨大以及每次重要的测试都发生在周末。
我现在的状况就是我想通过加大广告投入来带动单量 但是因为广告在频繁调整中持续跑的很差以至于亚马逊越来越不肯给我好的流量和位置。之前同样的大词可以很快的花光预算,到现在一整天时间花不到原来预算的1/3,同样的cpc,原来可以跑到首页顶部,现在只能跑到商品页。
二编补充一些比较重要的数据:
关于对所有广告做固定竞价+bid的测试之前没有贴数据,这里做一下补充
以2个核心大词的广告活动为例:
12.5-12.7 广告数据 客单价23.99 竞价方式为UP and Down
核心大词 1 SP-广泛匹配 基础竞价为0.6
核心大词2 SP-广泛匹配 基础竞价为0.55
12.12-12.14 广告数据,客单价为23.99 竞价方式为固定竞价
核心大词 1 SP-广泛匹配 基础竞价0.6 首页顶部bid+100% 搜索页其他位置bid+30%
核心大词 2 SP-广泛匹配 基础竞价0.55 首页顶部bid+100%
然后是关于广告单占比的一些补充
11月 自然单-广告单占比
12月-至今(12.22)自然单-广告单占比
我自认为可以排除的一些因素:
1.市场原因,比如整个品类的转化率都在降低
理由:
由此图可以看出类目排名在整体第75%位置的,在这半个月内的数据在持续上涨,而我的数据却在持续下滑
2.竞品降价
理由:竞品价格一直维稳在上下1美金的幅度内,和以前相比并没有扩大优势,并且我也进行了降价测试,效果并不理想
希望有大佬能够给一些分析建议支支招,如果有什么需要补充的数据可以在评论区告诉我



















倒计时:
23 个回复 | 23 人关注